
| 商品名: | ストックリンカプセル200 |
|---|---|
| 一般名: | エファビレンツ |
| 略称: | EFV |
ここで提供している添付文書情報は、2009年10月30日現在の各医薬品の添付文書を基に作成したものです。書式等については、実際の添付文書と異なるところがあります。添付文書情報は随時更新されます。ご使用の際は、必ず最新の添付文書をご覧下さい。
また、記載されている内容には、専門的な情報が含まれています。文書内の、
この色の文字をクリックすると、別ウィンドウに読み方のアドバイスが表示されます。
この色の文字をクリックすると、別ウィンドウに重大な副作用の解説が表示されます。
この色の文字をクリックすると、別ウィンドウに副作用の症状とその類似語、定義の解説が表示されます。
記載されている情報をご覧になり、疑問などを持たれた場合は、医師・薬剤師にご相談ください。
※このページを開いた時に目次が自動的に表示されなかったときは、ここをクリックしてください。
抗ウイルス化学療法剤
STOCRIN Capsules 200
エファビレンツカプセル
2009年8月改訂(第12版)
日本標準商品分類番号
87625
劇薬
処方せん医薬品:注意-医師等の処方せんにより使用すること
貯法:室温保存
使用期間:3年
使用期限:外箱に表示
| 承認番号 | 21100AMY00227000 |
|---|---|
| 薬価収載 | 1999年9月 |
| 販売開始 | 1999年9月 |
(1)本剤の成分に対し過敏症の既往歴のある患者
(2)シサプリド、トリアゾラム、ミダゾラム、エルゴタミン酒石酸塩・無水カフェイン、ジヒドロエルゴタミンメシル酸塩、メチルエルゴメトリンマレイン酸塩及びエルゴメトリンマレイン酸塩を投与中の患者〔「相互作用」の項参照〕
(3)ボリコナゾールを投与中の患者〔「相互作用」の項参照〕
| 販売名 | ストックリン®カプセル200 |
|---|---|
| 剤形 | 硬カプセル剤 |
| 有効成分の名称 | エファビレンツ |
| 含量 | 200mg |
| 添加物 | 乳糖水和物、カルボキシメチルスターチナトリウム、ステアリン酸マグネシウム、ラウリル硫酸ナトリウム、ゼラチン(カプセル本体) |
| 外観色調 | キャップ/ボディ:暗黄色/暗黄色 |
| 識別コード | 3809 |
| 外形 | 0号カプセル |
HIV-1感染症
通常、成人にはエファビレンツとして600mgを1日1回経口投与する。本剤は、食事の有無にかかわらず投与できる。なお、投与に際しては必ず他の抗HIV薬と併用すること。
(1)本剤は、単独で投与しないこと。また、他の治療が無効の場合に本剤を単独で追加投与しないこと。本剤による治療は、患者に未投与の1種類以上の抗レトロウイルス薬(ヌクレオシド系逆転写酵素阻害剤又はHIVプロテアーゼ阻害剤)との併用により開始すること。本剤と併用する抗レトロウイルス薬の選択にはウイルスの交差耐性の可能性を考慮すること。〔本剤を単独療法として投与する場合、耐性ウイルスが急速に出現する。〕
(2)薬剤への忍容性がないために併用療法中の抗レトロウイルス薬の投与を中断する場合は、すべての抗レトロウイルス薬を同時に中止するよう十分に考慮すること。不忍容の症状が消失した際はすべての抗レトロウイルス薬の投与を同時に再開すること。〔抗レトロウイルス薬の間欠的単独療法及び逐次的再導入は、薬剤耐性突然変異ウイルスの出現の可能性が増加するため望ましくない。〕
(3)神経系の副作用の忍容性を改善するため、治療当初の2~4週間及び神経系の副作用が継続する患者では、就寝時の投与が推奨される。〔「重要な基本的注意」の項参照〕
(4)食物との併用により、本剤の曝露量を増加させ、副作用の発現頻度を増加させるおそれがある。本剤は、食事の有無にかかわらず投与できるが、空腹時、可能な限り就寝時の服用が望ましい。〔「薬物動態」の項参照〕
(1)肝障害のある患者〔慢性肝疾患患者における使用経験が少なく、安全性が確立していない。また、本剤は主にチトクロームP450 3A4(CYP3A4)を介して代謝されることが報告されている。〕
(2)B型、C型肝炎感染の既往のある患者あるいはその疑いのある患者〔肝機能障害が発現・増悪するおそれがある。「重要な基本的注意」の項参照〕
(3)妊婦又は妊娠している可能性のある婦人〔「妊婦、産婦、授乳婦等への投与」の項参照〕
(1)本剤の国内臨床試験は実施されていないために海外臨床試験のデータに基づき記載している。
(2)何らかの理由により本剤の投与を中断する場合は、他の抗レトロウイルス薬の投与中止を十分に考慮すること。同様に、併用している抗ウイルス療法が一時的に中止される場合は、本剤の投与も中止すること。すべての抗レトロウイルス薬の投与を同時に再開すること。
(3)本剤の使用に際しては、患者又はそれに代わる適切な者に、次の事項についてよく説明し、同意を得た後、使用すること。
1) 本剤はHIV感染症の根治療法薬ではないことから、日和見感染を含むHIV感染症の進展に伴う疾病を発症し続ける可能性があるので、本剤投与開始後の身体状況の変化については、すべて担当医に報告すること。
2)本剤の長期投与による影響については、現在のところ不明である。
3)本剤が性的接触又は血液汚染による他の人への感染の危険性を低下させるかどうかは証明されていない。
4)本剤は、処方通りに毎日服用すること。本剤は、常に他の抗レトロウイルス薬と併用しなければならないこと。また、担当医への相談なしで、用量を変更したり治療を中止しないこと。
5)本剤は他の薬剤と相互作用を示す可能性があるので、他の薬剤の服用の有無について担当医に報告すること。
6)本剤をアルコール又は中枢神経作用薬と併用するとき、相加的に中枢神経系効果が増強されるので注意すること。
7)本剤はめまい、集中力障害、嗜眠状態を引き起こすことがある。これらの症状があらわれた場合は、自動車の運転や機械の操作等、潜在的な危険のある労働を避けること。
8)動物実験で胎児に奇形が認められているため、本剤を投与中及び投与中止後12週間を経過していない女性は、適切な避妊方法を用いて妊娠を避けるようにし、妊娠した場合は担当医に報告すること。
(4)発疹:本剤に関する臨床試験において軽・中等度の発疹が報告されており、一般に投与開始2週間以内に発現し、通常は投与継続中に1ヵ月以内で消失する。適切な抗ヒスタミン薬もしくはコルチコステロイドの投与が忍容性の改善を促し、発疹の消失を早めることがある。本剤投与患者の1%未満で、水疱、湿性の落屑又は潰瘍形成を随伴した重度の発疹が報告されている。多形紅斑又は皮膚粘膜眼症候群(Stevens-Johnson症候群)の発現率は0.14%であった。水疱、落屑、粘膜波及又は発熱に関連する重度の発疹が発現した患者では本剤の投与を中止すること。
(5)精神神経系症状:精神病あるいは薬物乱用の既往歴のある患者に目立って、妄想及び不穏当な行動が報告された(本剤を投与された患者1,000例につき約1例から2例)。また、対照群患者及び本剤投与群患者両群ともに重度の急性うつ病(自殺願望及び自殺企図を含む)がまれに報告された。妄想、不穏当な行動及び重度の急性うつ病(自殺願望及び自殺企図を含む)が発現した患者には、本剤の投与中止を考慮すること。本剤を投与している患者の52%に精神神経系症状が報告された。これらの症状の主なものは、めまい、集中力障害、傾眠、異夢及び不眠であった。比較対照臨床試験では、これらの症状は本剤1日600mgを投与された患者の2.6%、対照群の患者の1.4%で重度であった。臨床試験では、本剤を投与された患者の2.6%が精神神経系症状のために投与を中止した。精神神経系症状は一般に投与開始1~2日後に発現し、通常は投与継続中に2~4週間で消失する。これらの副作用の忍容性を改善するために、治療の最初の数週間及びこれらの症状の発現が継続する患者には、就寝時の投与が推奨される。〔「副作用」の項参照〕
(6)B型、C型肝炎感染の既往のある患者あるいはその疑いのある患者、及び肝毒性が知られている薬剤の投与を受けている患者では肝酵素のモニタリングが推奨される。血清トランスアミナーゼの正常範囲の上限より5倍以上の上昇が持続している患者では、本剤による重篤な肝毒性発症のリスクより本剤の有用性が上回ると判断された場合にのみ投与すること。
(7)本剤を投与している患者では、脂質のモニタリングを考慮すること。〔本剤を投与された数名の非感染ボランティアに10~20%の総コレステロール上昇が認められた。また、本剤を非空腹時の患者に投与した際、血清トリグリセライド及びコレステロールの軽微な上昇が認められた。また別の試験では、[本剤+ジドブジン(ZDV)+ラミブジン(3TC)]を48週間投与した患者において、総コレステロール、HDLコレステロール、空腹時LDLコレステロール及び空腹時トリグリセライドのそれぞれベースラインから21%、24%、18%及び23%の上昇が認められた。しかしながら、これらの知見の臨床上の意義は不明である。〕
(8)本剤を含む抗HIV薬の多剤併用療法を行った患者で、免疫再構築症候群が報告されている。投与開始後、免疫機能が回復し、症候性のみならず無症候性日和見感染(マイコバクテリウムアビウムコンプレックス、サイトメガロウイルス、ニューモシスチス等によるもの)等に対する炎症反応が発現することがあるので、これらの炎症性の症状を評価し、必要時には適切な治療を考慮すること。
(9)抗HIV薬の使用により、体脂肪の再分布/蓄積があらわれることがあるので、異常が認められた場合には適切な処置を行うこと。〔「副作用」の項参照〕
本剤は、チトクロームP450 3A4(CYP3A4)酵素誘導剤である。CYP3A4の基質である他の化合物は、本剤と併用して投与すると血漿中濃度が低下することがある。
| 薬剤名等 | 臨床症状・措置方法 | 機序・危険因子 |
|---|---|---|
|
これらの薬剤の代謝が抑制され、重篤な又は生命に危険を及ぼすような事象(不整脈、持続的な鎮静、呼吸抑制)が起こる可能性がある。 | CYP3A4に対する競合による。 |
|
ボリコナゾールとの併用により、ボリコナゾールのAUC及びCmaxがそれぞれ77%及び61%減少し、本剤のAUC及びCmaxがそれぞれ44%及び38%増加した。 | 機序不明 |
| 薬剤名等 | 臨床症状・措置方法 | 機序・危険因子 |
|---|---|---|
| インジナビル | インジナビル(800mg、8時間ごと)と本剤を併用して投与した場合、酵素誘導の結果としてインジナビルのAUC及びCmaxがそれぞれ約31%及び16%減少した。 | 本剤のCYP3A4誘導作用により、インジナビルの代謝が促進されるおそれがある。 |
| リトナビル | 非感染ボランティアにおいて本剤600mg(1日1回、就寝時投与)とリトナビル500mg(12時間ごと投与)について試験を行ったとき、併用の忍容性は良好ではなく、高頻度の臨床的有害事象(例:めまい、嘔気、異常感覚)及び臨床検査値異常(肝酵素上昇)が認められた。本剤をリトナビルと併用する場合は肝酵素のモニタリングが推奨される。 | 機序不明 |
| サキナビル | サキナビル(1,200mg1日3回、ソフトゲル製剤)と本剤を併用した場合、サキナビルのAUC及びCmaxがそれぞれ62%及び45~50%減少したとの報告がある。併用するプロテアーゼ阻害剤がサキナビルのみの場合は本剤の使用は推奨されない。 | 機序不明 |
| リファンピシン類 | 非感染ボランティア12例ではリファンピシンにより本剤のAUCが26%、Cmaxが20%減少した。リファンピシンと併用投与する場合、本剤の投与量を800mg/日に増加すること。本剤とリファンピシンを併用投与する場合、リファンピシンの用量調節は推奨されない。非感染のボランティアに対する臨床試験において、本剤はリファブチンのCmax及びAUCをそれぞれ32%及び38%低下させた。 | 機序不明 |
| クラリスロマイシン | 本剤400mg1日1回とクラリスロマイシン500mg12時間ごと1週間併用した場合、本剤がクラリスロマイシンの薬物動態に対して有意な影響を及ぼした。本剤と併用した場合に、クラリスロマイシンのAUC及びCmaxがそれぞれ39% 及び26%減少する一方で、クラリスロマイシン水酸化代謝物のAUC及びCmaxがそれぞれ34%及び49%増加した。このようなクラリスロマイシンの血漿中濃度の変化の臨床上の意義は不明である。非感染ボランティアの46%で本剤とクラリスロマイシンを投与中に発疹が発現した。本剤はクラリスロマイシンと併用投与した場合には用量調節は推奨されない。クラリスロマイシンの代替薬を考慮すること。 | 機序不明 |
| 経口避妊薬 | 本剤(600mg1日1回)と経口避妊薬(エチニルエストラジオール0.035mg/ノルゲスチメート0.25mg1日1回)を14日間併用した場合、本剤はエチニルエストラジオールの血漿中濃度に影響を与えなかったが、ノルゲスチメートの活性代謝物であるノルエルゲストロミン及びレボノルゲストレルのAUCはそれぞれ64%及び83%減少した。これらの作用の臨床上の意義は不明である。一方、本剤の血漿中濃度への影響は認められなかった。本剤と経口避妊薬の併用による相互作用の可能性は十分に検討されていない。経口避妊薬に加えて信頼できる防御的避妊法(コンドーム)を用いること。 | 機序不明 |
| セイヨウオトギリソウ (St. John's Wort、 セント・ジョーンズ・ワート) 含有食品 |
本剤の血中濃度が低下し、抗ウイルス作用の欠如及び本剤又は他の非ヌクレオシド系逆転写阻害剤の耐性化が起こるおそれがあるので、本剤投与時はセイヨウオトギリソウ含有食品を摂取しないよう注意すること。 | セイヨウオトギリソウにより誘導された肝薬物代謝酵素(CYP3A4)が本剤の代謝を促進し、クリアランスを上昇させるためと考えられている。 |
| ホスアンプレナビル | ホスアンプレナビル1,400mg及びリトナビル200mgの1日1回投与と本剤600mg 1日1回を併用した場合、アンプレナビルのAUCが13%、Cminが36%低下したが、リトナビルを300mgに増量すると、アンプレナビルの血中濃度は維持された。また、ホスアンプレナビル700mg及びリトナビル100mgの1日2回投与と本剤600mg 1日1回を併用した場合、アンプレナビルの血中濃度に著しい変化はなかった。 | 本剤のCYP3A4誘導作用により、アンプレナビルの代謝が促進される。 |
| アタザナビル | 本剤600mgとアタザナビルとの併用により、アタザナビルの曝露量が減少した。本剤をアタザナビルと併用する際には、さらに低用量のリトナビルを併用するとともに、アタザナビルの用量調節が必要である。 HIV治療歴のない患者に本剤を併用投与する場合、アタザナビル300mg、リトナビル100mg、本剤600mgを1日1回投与することが推奨される。HIV治療歴のある患者におけるアタザナビル及び本剤の推奨用量は確立していない。 |
機序不明 |
| アトルバスタチン | 非感染ボランティアにおいて、本剤 (600mg 経口1日1回)とアトルバスタチン(10mg 経口1日1回)を併用した場合、アトルバスタチン単剤投与と比較して、定常状態におけるアトルバスタチン及びその由来物質のAUC及びCmaxを減少させた(アトルバスタチン: 43%及び12%、2-ヒドロキシアトルバスタチン: 35%及び13%、4-ヒドロキシアトルバスタチン: 4%及び47%、総HMG-CoA還元酵素阻害活性物質: 34%及び20%)。 | 機序不明 |
| プラバスタチン | 非感染ボランティアにおいて、本剤 (600mg 経口1日1回)とプラバスタチン(40mg 経口1日1回)を併用した場合、プラバスタチン単剤投与と比較して、定常状態におけるプラバスタチンのAUC及びCmaxが40%及び18%減少した。 | 機序不明 |
| シンバスタチン | 非感染ボランティアにおいて、本剤 (600mg 経口1日1回)とシンバスタチン(40mg 経口1日1回)を併用した場合、シンバスタチン単剤投与と比較して、定常状態におけるシンバスタチン及びその由来物質のAUC及びCmaxを減少させた(シンバスタチン: 69%及び76%、シンバスタチンのオープンアシド体: 58%及び51%、HMG-CoA還元酵素阻害活性物質: 60%及び62%、総HMG-CoA還元酵素阻害物質: 60%及び70%)。 | 本剤のCYP3A4誘導作用により、シンバスタチンの代謝が促進されるおそれがある。 |
|
非感染ボランティアにおいて、本剤 (600mg 経口1日1回)とカルバマゼピン(400mg 1日1回)を併用した場合、定常状態におけるカルバマゼピンのAUC、Cmax、Cminはそれぞれ27%、20%、35%減少し、本剤のAUC、Cmax、 Cminはそれぞれ36%、21%、47%減少した。定常状態における活性型カルバマゼピンエポキシド代謝物のAUC、Cmax、Cminは変化がなかった。カルバマゼピンの血漿中濃度は定期的にモニタリングすべきである。 フェニトイン、フェノバルビタール、あるいはチトクロームP450で代謝される他の抗痙攣薬との相互作用についてのデータは得られていない。本剤がこれらの薬剤と併用して投与される場合、各薬剤の血漿中濃度を増加あるいは減少させる可能性があるので、血漿中濃度を定期的にモニタリングすべきである。 |
機序不明 |
| イトラコナゾール | 非感染ボランティアにおいて、本剤(600mg 経口1日1回)とイトラコナゾール(200mg 経口12時間ごと)を併用した場合、イトラコナゾール単剤投与と比較して、定常状態におけるイトラコナゾールのAUC、Cmax及びCminはそれぞれ39%、37%及び 44%減少し、ヒドロキシイトラコナゾールのAUC、Cmax及びCminはそれぞれ37%、35%及び43%減少した。 | 機序不明 |
| ジルチアゼム | 非感染ボランティアにおいて、本剤(600mg 経口1日1回)とジルチアゼム(240mg 経口1日1回)を併用した場合、ジルチアゼム単剤投与と比較して、定常状態におけるジルチアゼムのAUC、Cmax及びCminはそれぞれ69%、60%及び63%減少し、デスアセチルジルチアゼムのAUC、Cmax及びCminは75%、64%及び62%減少し、N-モノデスメチルジルチアゼムのAUC、Cmax及び Cminは37%、28%及び37%減少した。 | 機序不明 |
本剤は、2,000例以上の患者で試験が行われており、臨床試験では一般的に忍容性は良好であった。比較対照臨床試験にてプロテアーゼ阻害剤もしくはヌクレオシド系逆転写酵素阻害剤との併用により本剤1日600mgを投与された患者の413例において、高頻度で報告された薬剤投与と関連のある重症度が中等度以上の有害事象は、斑状丘疹性皮疹・紅斑を含む発疹(13.1%)、嘔気(10.4%)、めまい(9.2%)、下痢(6.8%)、頭痛(6.3%)、不眠(6.1%)、疲労(5.6%)及び集中力障害(5.3%)であった。対照群では嘔気が更に高い頻度で報告されており、下痢の報告頻度は同程度であった。本剤に関連した最も注意すべき有害事象は、発疹及び精神神経系症状である。
次のような症状があらわれることがあるので、症状があらわれた場合には、投与を中止するなど適切な処置を行うこと。
1)皮膚粘膜眼症候群(Stevens-Johnson症候群)(0.1%未満)、多形紅斑(0.1%未満)〔「重要な基本的注意」の項参照〕
2)肝不全(頻度不明): 重篤な肝障害があらわれることがあるので、定期的に検査を実施するなど観察を十分に行うこと。
次のような症状又は異常があらわれた場合には、投与を中止するなど適切な処置を行うこと。
| 種類/頻度 | 頻度不明 | 10%以上 | 1~10%未満 | 1%未満 |
|---|---|---|---|---|
| 全身性一般 | 体脂肪の再分布/蓄積(後頸部、胸部、腹部、後腹膜等の部位) | 頭痛、インフルエンザ様症候群、疼痛 | 無力症、倦怠感、発熱 | アルコール不耐性、ほてり、失神、末梢性浮腫 |
| 消化器 | 膵炎 | 嘔気、嘔吐、下痢、消化不良 | 胃炎、胃腸炎、胃食道逆流、アミラーゼ上昇、口渇、腹痛、鼓腸放屁、食欲亢進、食欲不振 | |
| 心・血管系 | 潮紅、動悸、頻脈 | |||
| 肝臓 | AST(GOT)上昇、ALT(GPT)上昇、γ-GTP上昇 | 肝炎、総ビリルビン上昇 | ||
| 筋・骨格系 | 関節痛、筋痛 | |||
| 精神神経系 | 感情鈍麻、精神病、小脳障害(平衡障害、眼振等) | めまい、不眠、集中力障害、疲労 | うつ症状悪化、激越、健忘、不安、運動失調、感情不安定、多幸症、幻覚、偏頭痛、異常感覚、抑うつ、神経過敏、傾眠、異夢、錯乱 | 協調障害、インポテンス、性欲減退、性欲亢進、神経痛、末梢神経障害、言語障害、痙攣、離人症、思考異常、振戦 |
| 呼吸器 | 喘息、副鼻腔炎、上気道感染 | |||
| 皮膚 | 皮膚剥離、光線過敏性皮膚炎 | 発疹、斑状丘疹性皮疹、紅斑 | 脱毛、湿疹、脂漏、蕁麻疹、毛包炎、そう痒、多汗、多汗(夜間) | ざ瘡 |
| その他 | 女性化乳房、貧血(赤血球数減少、ヘモグロビン低下等) | 好中球減少、耳鳴、血糖値上昇、体重減少、視力異常、味覚倒錯 | 総コレステロール上昇、血清トリグリセライド上昇、体重増加、複視、嗅覚錯誤 |
注)副作用の頻度は海外の臨床試験に基づき集計
高齢者における安全性及び有効性は確立していない。一般に高齢者では生理機能が低下しているので注意すること。
1)妊婦又は妊娠している可能性のある婦人には投与しないことが望ましい。〔妊婦への投与に関する安全性は確立していない。海外の抗HIV薬治療下妊娠症例登録制度において、本剤を妊娠中に服用した妊婦から生まれた新生児に脊髄髄膜瘤等の神経管欠損が報告されている。また、動物実験(カニクイザル)において、胎児/新生児20匹のうち3匹で奇形が認められた。妊娠したサルにエファビレンツ60mg/kg/day(ヒトに600mg/日を投与したときと同様の血漿中薬物濃度を示す用量)を投与した。1胎児において無脳及び片眼の無眼球症が認められた。別の胎児では小眼球症が認められ、第3の胎児では口蓋裂が認められた。〕
2)本剤投与中は授乳を中止させること。〔ラットにおける実験では、本剤が乳汁中に排泄されることが認められている。本剤がヒトの乳汁中に排泄されるか否かは不明である。〕
カンナビノイド試験:本剤は、カンナビノイドレセプターに結合しない。本剤を投与された非感染ボランティアにおいて尿カンナビノイド試験の偽陽性の結果が報告されている。偽陽性の試験結果は、スクリーニングにCEDIA DAU Multilevel THCアッセイを用いた場合のみで認められており、陽性結果の確認に用いられる試験を含めた他のカンナビノイドアッセイでは認められていない。
1)臨床試験にて、偶発的に600mgを1日2回摂取した患者数例において精神神経系症状の増加が報告されている。1例では不随意筋収縮が発現した。
2)過量投与の処置には、バイタルサインのモニタリングや患者の臨床状態の観察等の一般的な支持療法を行うこと。吸収されていない薬物の除去を促すために活性炭の投与を行ってもよい。本剤の過量投与に対する特異的解毒剤はない。本剤は蛋白質との結合率が高いため、透析では血液から薬物を有意に除去する見込みはない。
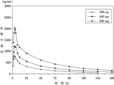
健康成人男子に本剤の200~600mgを空腹時に単回経口投与した場合、本剤の血漿中濃度は、投与後2.5~3.5時間にピークに達し、半減期は約56.4~58.3時間であった(各n=6)。血漿中濃度曲線下面積(AUC)及び最高血漿中濃度(Cmax)は用量依存的に上昇し、600mg単回経口投与におけるAUCは316.9±69.8μM・h、Cmaxは6.8±2.3μMであった(n=6)。(図)
図 健康成人男子におけるエファビレンツ単回経口投与後の血漿中濃度推移

健康成人男子に本剤の600mgを空腹時に単回経口投与した場合、投与後24時間までの尿中回収率は0.01%以下であった(n=6)。
1)非感染ボランティアに本剤100~1,600mgを単回経口投与後、本剤の血漿中濃度は投与5時間以内に1.6~9.1μMのCmaxに達した。Cmax及びAUCの用量依存的な増加は、1,600mgまでの用量で認められたが、上昇は完全には用量に比例せず、高用量での吸収の低下が示唆された。反復投与後もTmax(3~5時間)に変化はなく、血漿中濃度は投与6~7日で定常状態に到達した。
2)HIV感染患者における定常状態でのCmax、Cmin及びAUCは、1日量200~600mgの範囲で線形性が認められた。本剤1日1回600mgを投与した患者35例では、定常状態におけるCmaxは12.9μM、Cminは5.6μM、AUCは184μM・hであった。
非感染ボランティアに本剤600mgを高脂肪食(894kcal、脂肪54g、カロリーの54%が脂肪由来)及び低脂肪食(440kcal、脂肪2g、カロリーの4%が脂肪由来)摂取後単回経口投与した場合、空腹時投与時に比べて、本剤のAUCはそれぞれ22%及び17%、Cmaxはそれぞれ39%及び51%上昇することが認められた。
本剤はヒト血漿蛋白(主にアルブミン)と強く結合した(約99.5~99.75%)。本剤1日1回200~600mgを1ヵ月間以上投与したHIV-1感染患者9例において、脳脊髄液中濃度は血漿中濃度の0.26~1.19%(平均0.69%)であった。この割合は、血漿中の本剤の非蛋白結合(遊離)画分の約3倍であった。
1)ヒトでのin vitro試験及びヒト肝ミクロソームを用いたin vitro試験では、本剤は主にチトクロームP450によって水酸化され、続いてこれら水酸化代謝物はグルクロン酸抱合を受けることが示唆された。これらの代謝物はHIV-1に対して本質的に不活性であった。ヒトにおける本剤の代謝は、CYP3A4及びCYP2B6が関与する。また、臨床用量の血漿中濃度範囲(Ki値;8.5~17μM)で、CYP2C9、CYP2C19及びCYP3A4を阻害するが、CYP2E1は阻害せず、臨床的に到達可能な量よりかなり高濃度でCYP2D6及びCYP1A2(Ki値;82~160μM)を阻害した。
2)CYP2B6では、516G>T(アミノ酸配列:Gln172His)の一塩基多型が認められている。HIV感染患者に本剤600mg1日1回を含む併用療法を行った場合、CYP2B6の遺伝子型が516TTの患者群では516GGの患者群と比べて、定常状態におけるAUCが約3倍に増加した。1)なお、CYP2B6 516TTの遺伝子型をもつ集団の割合は、日本人では8. 9%との報告がある。2)
3)本剤はチトクロームP450を誘導し、自己代謝も誘導するため、1日200~400mgを10日間反復投与した結果、AUCは22~42%減少し、t1/2は単回投与時のt1/2(52~76時間)に比べて短縮(40~55時間)した。薬物動態学的相互作用試験で本剤1日400mg及び600mgをインジナビルと併用投与した場合に、本剤200mgの用量と比較してインジナビルのAUCの更なる減少がみられなかったため、CYP3A4誘導の程度は本剤の400mgと600mgの用量で同様であると予測される。
[14C]エファビレンツを投与したとき、投与した放射能の約14~34%が尿中に回収され、未変化体の排泄は投与量の1%未満であった。
(注)本剤の承認された用量は 1日 1回 600mgである。
下記に示す臨床試験では、ロシュ社製RT-PCR(AmplicorTM)HIV-1アッセイ法を用いたときの血漿中HIV-RNA400copies/mL未満(ACTG364では500copies/mL未満)の患者割合を主要有効性評価項目とした。
本剤は、ヒト免疫不全ウイルス1型(HIV-1)の選択的非ヌクレオシド系逆転写酵素阻害剤である。本剤は、HIV-1逆転写酵素(RT)のテンプレート(鋳型)、プライマー又はヌクレオシド三リン酸に対する非拮抗的阻害剤であり、混合型非拮抗阻害形式を示し、拮抗的阻害作用をわずかに併せ持つ。本剤は、臨床における血中濃度を十分に上回る濃度においても、HIV-2RT及びヒトDNAポリメラーゼα、β、γ及びδを阻害しない。
HIV-1のエファビレンツに対するin vitroの感受性の臨床上の意義は確立されていない。末梢血単核細胞(PBMCs)、マクロファージ/単球培養及びPBMCs由来のリンパ芽球細胞株について、エファビレンツのin vitroの抗ウイルス活性の評価を行った。野生型実験室適応菌株及び臨床分離株に対するエファビレンツの90-95%阻害濃度(IC90-95)は、1.7から25nM以下に及んだ。S48T、V108I、V179D、Y181C、P236Lの突然変異株、又はプロテアーゼ遺伝子のアミノ酸置換による変異株に対するエファビレンツの効力は、野生型に対して認められたものと同様であった。A98G、K101E、V106A、Y188C又はG190Aの突然変異を含む変異株に対してわずかな耐性(9倍未満)が認められた。in vitroでのエファビレンツ阻害に対する見かけ上の耐性が最も強かった点突然変異は、L100I(17~22倍の耐性)及びK103N(18~33倍の耐性)であった。以下に示すようなRTsをコードする塩基対の1つ以上のアミノ酸置換による変異株、野生型についてはin vitroのエファビレンツに対する耐性の上昇を示した:S48T+G190S(97倍)、Y181C+K103N(133倍)、G190A+K103N(130倍)、Y188L(140~500倍)、K101E+K103N(500倍)、L100I+K103N(>1,000倍)。本剤は培養細胞中のHIV-1に対して、NRTIのZDV又はddI、あるいはPIであるIDVとの相乗効果を示した。
本剤はRTの48、108、179、181又は236番目のアミノ酸置換変異株、あるいはプロテアーゼのアミノ酸置換変異株に対しても、野生株と同様のIn vitro抗ウイルス活性を示した。本剤の培養細胞における最高度の耐性を生じさせる単一アミノ酸置換変異は100番目のロイシン-イソロイシン置換(L100I、17~20倍耐性)及び103番目のリジン-アスパラギン置換(K103N、18~33倍耐性)であった。100倍以上の感受性の低下は、K103N置換に加えて、RTのその他のアミノ酸がさらに置換したHIV-1変異株で観察された。
IDVあるいはZDV+3TCと本剤を併用した臨床試験期間中において、ウイルス量の著しい再上昇(リバウンド)を経験した患者から分離されたウイルス分離株において、K103N置換は最も頻繁に認められたRT変異であった。RTの100、101、108、138、188又は190番目のアミノ酸置換も認められたが、より少ない頻度であり、K103N置換を伴った場合にしか認められないことが多かった。本剤投与前の患者から得られた検体中には、K103N置換は認められなかった。本剤に耐性を示すRTのアミノ酸置換様式は、本剤と併用投与された他の抗ウイルス療法剤とは関係していない。
本剤、ネビラピン及びデラビルジンに対する細胞培養での交差耐性プロフィールは、K103N置換が3種すべてのNNRTIsに対する感受性を損失させることを示していた。試験したデラビルジン耐性臨床分離株3株のうち2株は、本薬に対する交差耐性であり、かつ、K103N置換を含んでいた。残りの1株は、RTの236番目のアミノ酸置換を持ち、本剤とは交差耐性を示さなかった。
本剤の臨床治験症例で治療不良患者(ウイルス量のリバウンド)の末梢血単核細胞から得られたウイルス分離株のNNRTIsに対する感受性を評価した。本剤に耐性であることがあらかじめ確認された13種の臨床分離株は、ネビラピン及びデラビルジンに対しても耐性であった。これらのNNRTIs耐性分離株の5株にはRTのK103N、あるいは108番目のバリン-イソロイシン置換(V108I)が認められた。試験した本剤治療不良分離株の3株には、細胞培養中での本剤に対する感受性が残っており、ネビラピン及びデラビルジンに対しても感受性であった。
本剤とPIは標的酵素が異なるために、両薬剤間の交差耐性の可能性は低い。本剤とNRTIとの交差耐性は標的結合部位と作用機序が異なるので、その可能性は低い。

(1)国内における薬物動態試験については、試験終了次第、可及的速やかに試験成績、解析結果を提出すること。
(2)臨床試験については、プロトコールを遵守し、定期的(6ヵ月に1回程度を目途)に試験成績を報告し、試験終了次第、可及的速やかに試験成績、解析結果を提出すること。
(3)今後、再審査期間の終了までは、国内で使用される症例に関しては、可能な限り全投与症例を市販後調査の対象とし、患者背景、臨床効果、副作用、薬物相互作用等に関してデータの収集を行い、再審査の申請資料として提出すること。
(4)市販後、本剤の使用実態について詳細に調査を行い、他剤との併用における本剤の安全性、有効性に関する情報収集を実施し、定期的に報告すること。
(5)治療にあたっては、本剤は現在我が国における臨床試験が行われており、薬剤に関する科学的なデータを収集中であること等、患者に十分な説明を行い、インフォームド・コンセントを得るよう医師に対して要請すること。
1カプセル200mg:1瓶90カプセル
万有製薬株式会社 情報サービスセンター
東京都千代田区九段北1-13-12
医師、病院薬剤師の方:フリーダイヤル0120-024-961
保険薬局薬剤師の方 :フリーダイヤル0120-024-962
<受付時間>9:00~18:00(土日祝日・当社休日を除く)